Fulfillment for All ($AMZN)
Patents covering core parts of Amazon's e-commerce technology will expire in the next couple of years
Amazon obtained its robotic order fulfillment technology via its 2012 acquisition of Kiva Systems;
The earliest patents covering this technology were filed in 2002 and 2003 and will begin expiring in 2022 and 2023;
Similar technology appears to have already been widely adopted in at least one country not covered by these patents;
Few would argue that Amazon Inc. is an industry leader in order fulfillment and that this leadership is a key reason for Amazon being a global e-commerce powerhouse. To maximize efficiency in its warehouse operations, Amazon relies on its robotic order fulfillment technology. The latest version of its robotic order fulfillment system can be seen in this promotional hiring video of its Amazon Robotics division:
One can see that the system is made up of many mobile robots that each resemble a small robot vacuum cleaner. Each mobile robot is capable of displacing a shelf that holds a set of trays and the actual items purchased by Amazon customers are carried on these trays. These robots improve operation of a warehouse and increase the efficiency of the order fulfillment process, thereby giving Amazon an advantage in the e-commerce game.
In 2022 and 2023, portions of Amazon’s intellectual property portfolio, namely its patents, that protect Amazon’s robotic order fulfillment technology will start entering the public domain. That is, some of Amazon’s patents covering the robotic order fulfillment system will expire in 2022 and 2023.
Amazon got its hands on this robotic order fulfillment technology via its acquisition of Kiva Systems in 2012. The following note is taken from Amazon’s 2012 Annual Report.
As described in this article, Kiva was founded by Mick Mountz at the beginning of the millennium and began life as Distrobot Systems (with a name change to Kiva Systems shortly thereafter). The following 2008 video from IEEE Spectrum shows an iteration of Kiva’s robotic order fulfillment system in action.
The earliest patent family covering Kiva’s robotic order fulfillment system (and that I could locate via a simple search in Google Patents) has its genesis in U.S. patent application no. U.S. 10/196,772, which was filed on July 15, 2002 (and led to granted U.S. patent no. 6,950,722). This 2002 patent application subsequently spawned several relevant U.S. patents, including U.S. patent no. 6,748,292 (hereafter the “’292 Patent”) that itself links back to an application filed on February 3, 2003.
As you may know, the life of any patent lasts 20 years from the date of filing of the application for that patent. This means that the aforementioned patent no. 6,950,722 will expire on July 15, 2022 and the ’292 Patent will expire on February 3, 2023.
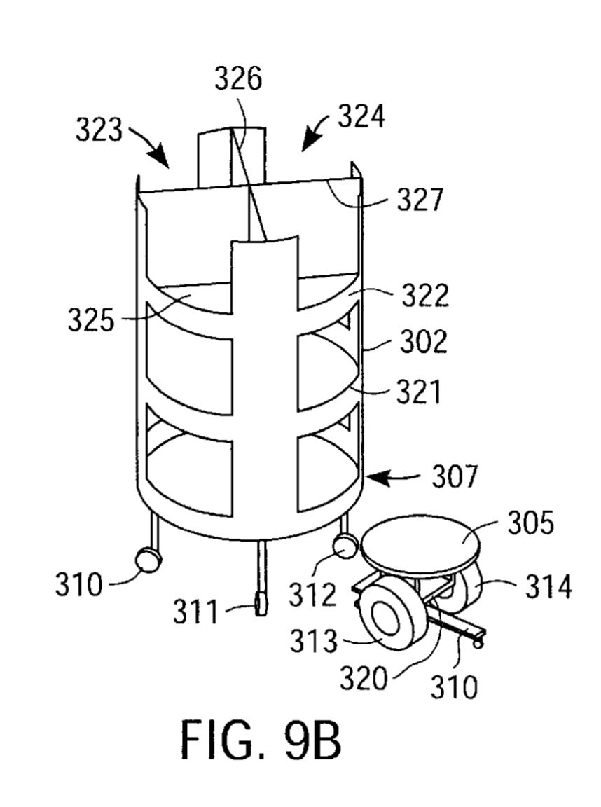
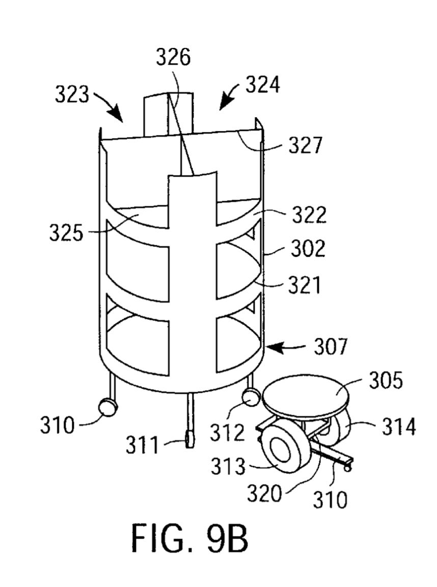
The ’292 Patent is quite relevant and deserves further analysis. I will avoid being overly technical and legalistic. Instead, I have presented a side-by-side comparison of Figure 9B of the ’292 Patent, and screen captures of the 2008 Kiva video and the 2021 Amazon video. This comparison immediately shows the relevance of the ’292 Patent (for the keener readers, I have included the claims of the ’292 Patent at the end of this article, which claims define the legal monopoly granted by the patent - in this case, the claims are not that hard to understand).
I have also included a picture of a fourth “mystery robot” that is currently in use despite Amazon’s patents still being in effect. I am sure many knowledgeable readers will correctly guess the company that operates it.
The resemblance shared amongst the systems shown in the top three images is immediately apparent. Importantly, the concept of a mobile robot (305) carrying and displacing a set of trays (323, 324) for holding items is clearly contemplated in Figure 9B of the ’292 Patent (just to be clear, this Figure 9B was already included in Kiva’s patent application that it filed back in 2003).
Undoubtedly, Amazon’s use of this robotic order fulfillment system gave it a competitive edge in the e-commerce industry. The following statement from its 2014 Annual Report illustrates its rapid adoption of this system:
Today, in 2021, Amazon most likely deploys many times the 15,000 robots that it was operating back in 2014. It is also unclear the extent to which Amazon made this technology available (or not available) to its e-commerce peers after its 2012 acquisition of Kiva Systems. With the 2012 Kiva acquisition, Amazon may well have kept this patented technology for its own exclusive use.
Interestingly, in addition to obtaining patent protection in the United States, Kiva Systems’s patent strategy included also getting patents in Europe, Mexico, Japan and Canada for its robotic order fulfillment system. Conversely, this means that outside of these countries, Kiva Systems did not have patent protection and its robotic order fulfillment technology was available for use.
Unsurprisingly, this technology has been adopted by another well-known e-commerce giant… Alibaba in China (did you correctly guess Alibaba as the operator of the fourth “mystery” robot shown in the above comparison?).
The fact that Alibaba uses what appears to be essentially the same technology illustrates the extent to which this technology adds value to e-commerce operators. With the expiry of Amazon’s patents in 2022, 2023 and beyond, pieces of this technology will gradually enter the public domain and become available for use by Amazon’s competitors in all countries, and not only in those countries where Kiva Systems did not obtain patents.
Furthermore, after expiry of the relevant patents, if one of Amazon’s competitors were to want to move quickly to incorporate this robotic order fulfillment system into its operations, finding a supplier of such a system likely will not be that difficult. A quick Google search for the robots featured in the Alibaba video led me to this Chinese manufacturer called Quicktron (http://www.flashhold.com/english.php), which appears to have systems ready for order.
We should understand that Kiva Systems did obtain later patents for incremental improvements to its core robotic order fulfillment technology up until its acquisition by Amazon in 2012. Of course, Amazon also continued this patent protection strategy after 2012. These later patents should offer some extension of Amazon’s patent protection of its robotic order fulfillment technology beyond 2022 and 2023. However, one wonders whether the expiry of Amazon’s earliest patents covering its robotic order fulfillment technology will mark the start of an erosion of Amazon’s industry leadership position.
Appendix: Claims of the ’292 Patent
The legal monopoly of a patent is defined by the patent claims. The claims offering the broadest protection are ones called independent claims. The four independent claims of the ’292 Patent are reproduced below. In this case, the patent language is fairly easy to understand once we identify that the “mobile drive unit (MDU)” recited in the claims represents the Roomba-like mobile robot (305 in Fig 9B) and the “movable inventory pod (MIP)” represents the shelf-and-tray subsystem (323, 324 in Fig 9B) that is displaced by the mobile robot.
1. A method for managing items of inventory in a warehouse comprising:
sending a request signal from a computer, the request signal specifying an item of inventory;
receiving the request signal by a mobile drive unit (MDU), the MDU responding to the request signal by:
determining a location of a movable inventory pod (MIP) that contains the item of inventory;
energizing a drive mechanism of the MDU to move the MDU to the location of the MIP;
docking the MDU to the MIP;
energizing the drive mechanism of the MDU to transport the MIP to a station of the warehouse.
13. A computerized method for managing items of inventory in a warehouse comprising:
transmitting a request signal from a computer, the request signal specifying an order for an item of inventory;
receiving the request signal by a plurality of mobile drive units (MDUs) located in the warehouse, each of the MDUs including a processor coupled to a random-access memory (RAM) that stores position coordinates of a plurality of movable inventory pods (MIPs) and a list of inventory items contained in each of the MIPs;
selecting a particular MDU to fulfill the order;
driving the MDU to the location of a MIP that contains the item of inventory;
docking the particular MDU with the MIP;
driving the particular MDU to transport the MIP to a pack station.
28. A method for managing items of inventory in a warehouse comprising:
sending a request signal from a Material Handling System (MHS) to a computer at a pack station in a warehouse, the request signal specifying an item of inventory;
receiving the request signal by a plurality of mobile drive units (MDUs) located in the warehouse, each of the MDUs including a processor coupled to a random access memory (RAM) that stores position coordinates of a plurality of movable inventory prods (MIPs) and a list of inventory items contained in each of the MIPs;
determining by each of the MDUs an estimated time duration to transport a MIP containing the item specified in the request signal;
selecting by the computer at the pack station a MDU to fulfill the order based on the shortest estimated time duration;
driving the MDU to the location of a MIP that contains the item of inventory;
docking the MDU with the MIP;
driving the MDU to transport the MIP to a pack station.
43. A computer-implemented method for managing items of inventory in a warehouse comprising:
transmitting position coordinates of one or more movable inventory pods (MIPs) and one or more mobile drive units (MDUs) to a computer;
receiving, by the computer, an order request for an item of inventory;
selecting, by the computer, a particular MDU to fulfill the order request;
transmitting the order request to the particular MDU;
docking the particular MDU to an MIP containing the item of inventory; and
moving, by self-power of the particular MDU, the MIP to a pack station located in the warehouse.









